Showing 91 to 105 of 109 results


New strategy for local diffusion of dopants in crystalline silicon
Patents for licensing Universitat Politècnica de Catalunya - UPC

Novel biobased aromatic and aliphatic polyesters from carbohydrates
Patents for licensing Universitat Politècnica de Catalunya - UPC

LIGHTWEIGHT NEUTRON DOSIMETER
Patents for licensing Universitat Politècnica de Catalunya - UPC

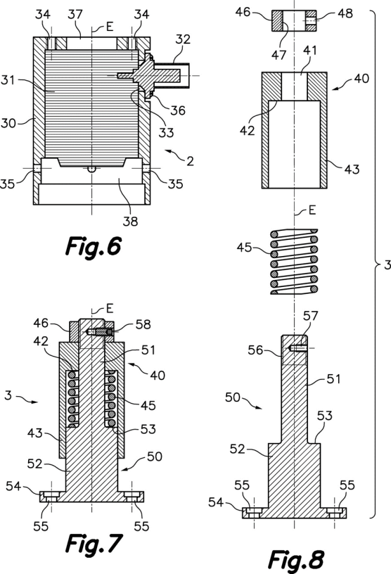
Vibration-Assisted ball burnishing
Patents for licensing Universitat Politècnica de Catalunya - UPC

Stackable container for selective collection of glass bottles
Patents for licensing Universitat Politècnica de Catalunya - UPC

A device for electromechanical stimulation of 2D monolayer and 3D stem cell’s cultures for tissue engineering applications
Patents for licensing Universitat Politècnica de Catalunya - UPC

New device for bidirectional optical link
Patents for licensing Universitat Politècnica de Catalunya - UPC

Novel motion nanosensor based on mechanical amplification
Patents for licensing Universitat Politècnica de Catalunya - UPC

ICHNAEA A Software System for the Microbial Source Tracking Problem
Patents for licensing Universitat Politècnica de Catalunya - UPC

Hybrid diffractive/refractive optics simulator
Patents for licensing Universitat Politècnica de Catalunya - UPC

New bio-based insulation material from vegetal pith and natural binders
Patents for licensing Universitat Politècnica de Catalunya - UPC

Image processing method for glaucoma detection and computer program
Innovative Products and Technologies Universitat Politècnica de Catalunya - UPC

New nanostructured material for tissue regeneration
Patents for licensing Universitat Politècnica de Catalunya - UPC

Precast concrete floating platform to support Off-shore deep sea wind turbines
Patents for licensing Universitat Politècnica de Catalunya - UPC
